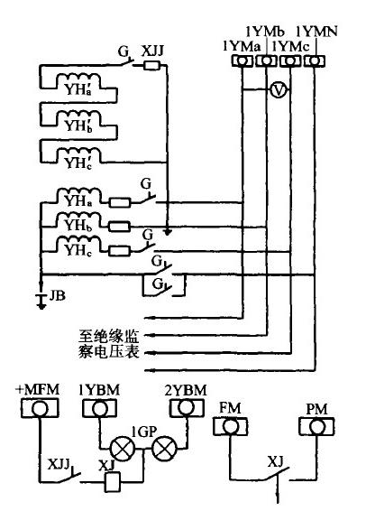
三相五柱式電壓互感器接線圖
什么是三相五柱式電壓互感器?
一般變壓器都是三相三柱式,也就是三相繞組別個繞制在一個鐵芯柱上,三根柱上下用鐵鄂連接起來。三相三柱式變壓器中,沒有給零序磁場留出通道,所以零序磁通只能通過空氣隙到外殼后回來,形成零序磁通回路,因此這種變壓器的零序阻抗都比較大。
所謂三相五柱變壓器,就是除了上述三相繞組有三根鐵芯柱以外,兩側還有兩根空余沒有繞組的鐵芯柱,五根鐵芯柱的上下都用鐵鄂連接起來。這樣,零序磁通就通過外面兩根鐵芯柱與上下鐵鄂形成了流通回路。這樣的變壓器零序阻抗很小。一般來講,用于實驗室和有特殊要求的地方比較多。當然,如果電網都采用這種變壓器,可以減少很多零序損耗。
三相五柱式電壓互感器是在三柱鐵芯的兩側各增加一個鐵芯柱,作為零序磁通的閉合磁路。正因為這種電壓互感器使零序磁通有了閉合磁路,就可以增加一組二次繞組,組成開口三角以獲得零序電壓。
三相五柱式電壓互感器的五柱式哪五柱?
三相五柱式互感器是用于高壓的電壓互感器,里面有三組線圈,高壓有一組,三個接線柱,低壓有兩組,一組為低壓電壓輸出,有三個接線柱,另一組為開口三角形接法,首尾相連,留出兩個端,主要用于單相接地或者斷線檢測用。所以共有五個接線柱。
三相五柱式互感器的接線原理
電網正常運行時,三相電壓對稱,開口三角繞組引出端子上的電壓Ua1,x1為三相二次電壓之相量和,其值為零,但實際上因漏磁等因素的影響,Ua1,x1一般不為零,而有幾伏的不平衡電壓。
當電網發生單相接地故障時,電壓互感器一次側的零序電壓也感應到二次側,因三相零序電壓大小相等、相位相同,故開口三角繞組輸出的電壓Ua1,x1=3U0/Kμ(Kμ為電壓互感器變比)。
1)把這種接線用于中性點非直接接地電網中,在電網發生單相(如A相)接地故障時,開口三角繞組兩端的3倍零序電壓Ua1,x1為3倍相電壓。為使此時的Ua1,x1=100V,開口三角繞組每相的電壓為100/3V。因此,電壓互感器的變比為(UN/√3)/(100/√3)/(100/3)V(UN為一次系統的額定電壓)。
2)把這種接線用于中性點直接接地電網中,在電網發生單相(如A相)接地故障時,故障相A相的電壓為零,非故障相B、C相的電壓大小和相位均與故障前的相同,開口三角繞組兩端的3倍零序電壓Ua1,x1為相電壓。為使此時的Ua1,x1=100V,故電壓互感器的變比為(UN/√3)/(100/√3)/(100)V。
三相五柱式互感器的接線方式
電壓互感器二次繞組接地方式與保護、測量表計及同步電壓回路有關,有b相接地和中性點接地兩種方式,其接線方式見圖1、2。
1.1電壓互感器二次繞組兩種接地方式的比較
1.1.1在同步回路中在b相接地系統中,對中性點非直接接地系統,單相接地時,中性點位移,不能用相電壓同步,必須用線電壓同步。如同步點兩側均為b相接地,其中一相公用,同步開關檔數減少(如采用綜保,則接線更為簡單),同步接線簡單。對中性點直接接地系統,可用輔助二次繞組的相電壓同步。
1.1.2在保護回路中
在b相接地系統中,①在零線上串接的隔離開關輔助觸點G,如不可靠而斷開時,會使10kV以上電壓距離保護斷線閉鎖裝置失去作用,這時若再發生一相或兩相斷線,將導致保護誤動作。②因為輔助繞組的一端與b相接地點相連,由于基本二次側繞組上有負荷電流流過,在電纜芯出上產生電壓降,使正常開口三角形有電壓3U0,對零序方向元件不利。若單獨從接地點引接零序方向繼電器回路,則接線較為復雜。
在中性點接地系統中,由于中性點無任何斷開觸點,可靠性高。因中性點沒有電流通過,無電壓降,對保護無影響。
1.1.3在測量表計回路中
在b相接地系統中,①因大多數表計均接線電壓,其中b相接地公用,引線方便。②對只需接線電壓的回路,可用V-V接線電壓互感器。
在中性點接地系統中,表計均需三相分別接入,引線較為復雜。
1.1.4在電壓互感器二次接線上
在b相接地系統中,①中性點需裝設擊穿保險器,增加了部件,正常時如擊穿保險器擊穿接地,將使b相繞組短路。②當A、C兩相中任一相發生接地時,即構成二次繞組兩相短路,兩相熔斷器熔斷。
在中性點接地系統中,無b相接地的相應問題,接線較簡單。
據上分析,對于中性點非直接接地系統,因一般不裝設距離和零序方向保護,b相接地對保護影響極小,而對同步回路有利,故電壓互感器二次側采用b相接地方式較為理想。而對于中性點直接接地系統,保護要求嚴格,中性點接地有利于提高保護的可靠性,同步回路可用輔助繞組的相電壓,故電壓互感器二次繞組采用中性點接地方式較為優越[1]。
1.2接地原因
1.2.1電壓互感器二次側須接地的原因
在運行中,電壓互感器的一次側線圈處在高壓系統之中,而其二次側線圈則為一固定的低電壓(如電壓互感器一次線圈電壓為10KV時,則其二次側固定為100V)。二次側線圈所接入的各種儀表和繼電器的絕緣等級低,并且經常與人員接觸,如果電壓互感器的一、二次線圈之間的絕緣被擊穿,一次側的高壓將直接加到二次側線圈上,極易危及人身和設備安全。故為了提高安全性,電壓互感器二次側必須接地。
1.2.2JB接地
圖1中,當電壓互感器通過b相接地時,其中性點處還需要通過JB接地的原因分析如下。
由于電壓互感器二次側通過b相接地,其只是為各種表計和繼電器提供所需電壓,不能保證當一次電壓串入二次回路時的安全,所以其二次側線圈的中性點也必須接地。但是,其中性點如果直接接地,b相線圈將通過大地短接,這樣會燒壞線圈,這是不允許的。所以電壓互感器二次側中性點通過一個JB(放電間隙)接地。正常運行時JB不導通;當有高壓進入二次側時,JB擊穿使電壓互感器二次通過中性點接地,達到保護人身和設備安全的目的。(因b相接地點在保險之后,故即使b相和中性點形成接地短路,也只會使保險熔斷,不會燒壞線圈)。
2、電壓互感器二次側保險的工作原理
2.1二次側無保險工作分析
①在圖1中,如果JB在工作狀態下因其它原因擊穿,則電壓互感器b相繞組將被短接,b相繞組將被燒壞。
②當A、C兩相任一相有過載時,將造成電壓互感器繞組燒壞。當A、B、C三相繞組內部有故障時,將引起保護誤動作。
③在圖2中,當電壓互感器二次側A、B、C三相中的任一相出口處有接地發生時,均會造成電壓互感器繞組短路運行而燒壞。
④當電壓互感器二次側A、B、C三相中的任一相發生過載時,也有可能燒壞繞組,引起保護誤動作。
在上述工作狀態下,電壓互感器二次側A、B、C三相出口處,都需加裝二次側保險。
2.2不加保險(熔斷器)的情況
①在二次側開口三角的出線上一般不裝熔斷器。因為在正常運行時開口端無電壓,無法監視熔斷器的接觸情況。一旦熔斷器接觸不良,則系統接地時不能發出接地信號。但是,供零序過電壓保護用的開口三角出線例外。
②中性線上不裝熔斷器,目的是因為一旦保險絲熔斷或接觸不良,就會使絕緣監察電壓表失去指示故障的作用。
③接自動電壓調整器的電壓互感器二次側不裝熔斷器,目的是為了防止熔斷器接觸不良或熔絲熔斷時電壓互感器誤動作。
3、三相五柱式電壓互感器工作繞組的工作狀態分析
3.1正常時工作繞組的工作狀態
如圖3所示,由于三相五柱式電壓互感器為配合計量及保護裝置,其二次線電壓為恒定的100V。為配合絕緣監察,其二次側對地電壓為100/V;100V/V、0V。所以根據圖3可得出,Ua、Ub、Uc三相相電壓為Ua=l00/V=Ub=Uc,線電壓為Uab=Uac=Ucb=100V。正常運行時,Ua0=Ub0=Uc0電壓表指示相電壓(10kV系統為5.8kV)。
圖3
3.2故障時工作繞組的工作狀態
①當系統發生單相金屬性接地時(如A相),則該相對地電壓為O,即電壓瓦感器的A相一次線圈對地無電壓。接在二次和接地相對應的絕緣監察電壓表Ua=0,而其它兩相Ub、Uc的電壓升高到倍,即上升到線電壓(10KV系統為10KV)。此時工作線圈二次側對地電壓為Ua=0、Ub=0、Uc=100V。
②當A相經電弧或高電阻接地時,則Ua電壓指示低于相電壓,但未達到0。Uc、Ub指示高于相電壓,但未達到線電壓(當b相接地時,Ub=O)。
4輔助繞組的工作狀態分析
輔助繞組,即開口三角形。在系統正常運行時,由于系統三相電壓UA、UB、UC是對稱的,互感器二次線圈中的三個電壓Ua、Ub、Uc也對稱。故反應在開口三角兩端的零序電壓為Ua+Ub+Uc=0,所以開口三角兩端的電壓為零。
當系統發生單相接地故障時,如C相接地(見圖4),顯然C相對地電壓Uc,加上中性點對C相端頭電壓-Uc,即UAd=UA+(-Uc)。同理,B
相對地電壓UBd=UB+(-Uc),由于C相接地,電壓互感器一次側的C相線圈上無電壓。則UAd和UBd就是互感器一次側A相和B相的電壓。從向量圖中看出,加在互感器一次側的三相電壓出現了零序電壓,即UAd+UBd=3U0。此時UAd和UBd的大小都是相電壓的倍,即數值上等于線電壓,其合成電壓即為3倍的零序電壓。故在開口三角兩端也同時出現了3倍的零序電壓。在開口三角兩端接上絕緣監察繼電器,一旦系統有單相接地發生,此絕緣監察繼電器即報燈光、音響信號,告訴值班人員處理(一般此繼電器整定值為l5V或18V)。








